更新时间:2025-11-26 07:26:43下载pdf
操作日志 记录了系统中每个账号在各个应用中的操作记录,日志数据按企业、项目进行隔离。

在开始使用日志功能之前,请先确保您的账号已有对 操作日志 应用的权限。
针对不同的角色,可以设置其对日志数据查看的范围权限。单击系统右上角的头像,在菜单中单击 系统设置 并进入 角色权限管理 应用。


各项目之间的数据相互隔离。如需查看某个项目下的操作日志,在空间首页左上角选择对应的项目。

企业之间的数据相互隔离。如需查看某个企业下的操作日志,单击系统右上角的头像,然后在菜单中单击 切换企业 并选择对应的企业。


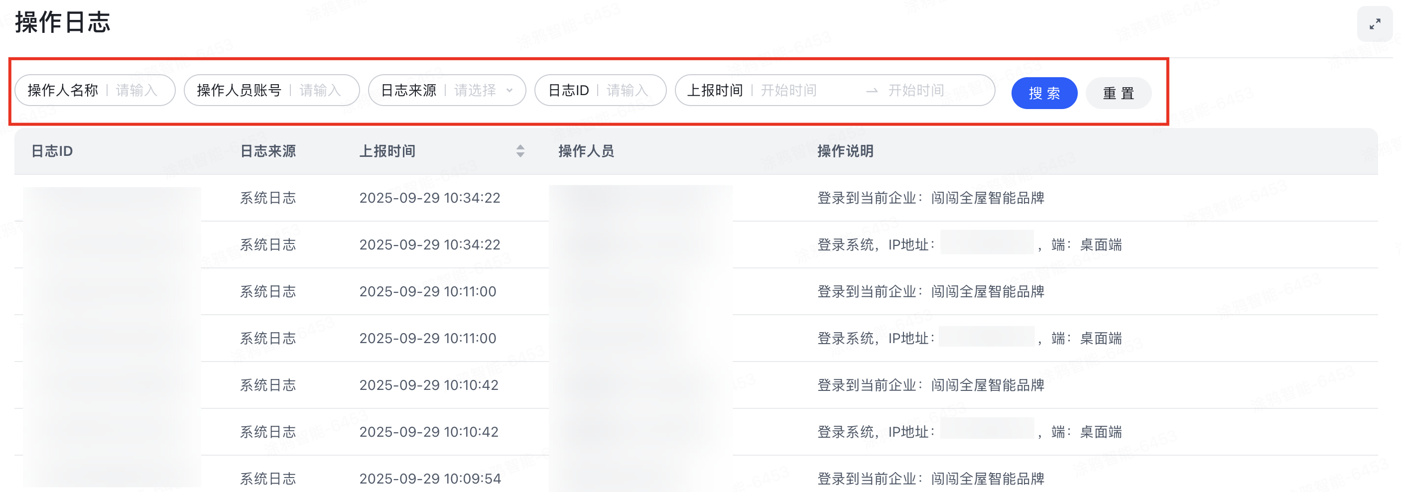
在 操作日志 页面,默认按时间顺序展示所有可查看的操作日志。您可以通过设置操作人名称、日志来源、上报时间等筛选条件来缩小数据范围。

该内容对您有帮助吗?
是意见反馈该内容对您有帮助吗?
是意见反馈